Ford travaille sur une nouvelle marche d’accès à la boîte des camionnettes
Les fabricants de camionnettes proposent depuis quelques années différents types de systèmes ou d’aides qui facilitent l’accès à la boîte du véhicule. Ces derniers ont tellement grossi depuis quelques années qu’il devient de plus en plus difficile de simplement se hisser dans la boîte en utilisant le pare-chocs.
Chez Ford, on a été une des premières compagnies à innover avec une marche déployable, ainsi qu’un bras qui permettait de monter plus facilement. GM a mis au point un hayon qui se déploie de six façons différentes. Bref, on cherche toujours à innover.
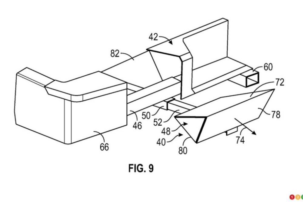
Du côté de Ford, on travaille sur un nouveau système, si l’on se fie au dépôt d’une demande de brevet auprès de l’Office américain des brevets et des marques (USPTO = United State Patent and Trademark Office) le 21 mai dernier, et soumis par Ford une première fois en 2021. La demande concerne un marchepied déployable pour le pare-chocs arrière d’une camionnette, afin bien sûr de faciliter l’accès à la caisse.
Comme expliqué dans la demande, le marchepied s’adapte à l’attelage de remorque d’un camion. Un bras pivote vers le bas à partir du point de montage lorsque le marchepied est utilisé. Le reste du temps, la marche pourrait être rangée contre le pare-chocs pour ne pas gêner le passage.
Dans les camions équipés d’une suspension pneumatique, le marchepied pourrait également être connecté à un contrôleur embarqué qui ordonnerait à la suspension arrière de s’abaisser lorsque le marchepied est utilisé. La camionnette s’abaisserait alors, comme un autobus urbain le fait pour rapprocher la première marche d’accès du sol.
Notez que l’application concerne les modèles équipés du nouveau hayon Pro Access, qui contient une portière intégrée, une fonction qui vient d’être introduite avec les versions 2024 du Ford F-150. La portière de ce hayon peut être ouverte à des angles de 37, 70 ou 100 degrés.
Il faudra voir si cette innovation atteint la production. Le dépôt d’une demande ne mène pas toujours à quelque chose de concret, mais dans ce cas-ci, il ne faudrait pas se surprendre de voir cette marche apparaître sur les modèles dans un avenir plus ou moins rapproché.

Contenu original de auto123.
